A Shimano está preparando uma resposta dupla ao sistema Full Mount da SRAM, conforme revelado em uma patente publicada recentemente. A gigante japonesa de componentes para ciclismo não apenas desenvolveu um design inovador de patilha de câmbio com dois pinos, mas também está trabalhando em um sistema de transmissão de 13 velocidades eletrônico que pode revolucionar o mercado de componentes para bikes de estrada e gravel.
O Novo Design de Gancheira: Uma Abordagem Diferente do Full Mount
Quando a SRAM lançou seu sistema Full Mount integrado às transmissões eletrônicas e mecânicas T-Type, muitos esperavam que a Shimano respondesse rapidamente com algo similar em seus novos grupos XTR, XT e Deore Di2. Surpreendentemente, isso não aconteceu de imediato. Talvez porque o sistema Automatic Impact Recovery da Shimano já oferecesse proteção suficiente contra impactos, mas a patente recém-publicada no dia 6 de novembro mostra que a empresa não estava ignorando essa tendência do mercado.

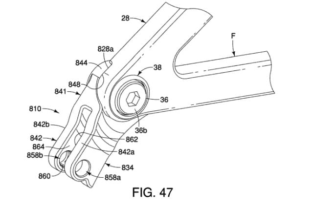
O documento de patente, descoberto pelo site Pinkbike, revela um sistema de Gancheira com dois pinos que se assemelha ao Full Mount da SRAM, porém de cabeça para baixo. Em vez dos dois pinos se conectarem diretamente ao quadro, eles funcionam como uma pinça que prende a fixação do câmbio através de um “membro tubular” equipado com um par de roscas para parafusos opostos que se encaixam um no outro.
Por Que a Shimano Está Perseguindo Este Design?
A resposta é relativamente simples: o sistema Full Mount da SRAM funciona muito bem. Ele oferece maior rigidez e resistência comparado às patilhas UDH tradicionais, que podem se dobrar sob impacto. Embora ainda exista um potencial ponto fraco logo abaixo do quadro no design da Shimano, essa abordagem de duplo pino pode proporcionar um reforço adicional que melhora a precisão e a resposta das trocas de marcha.

O sistema Full Mount tem ajudado as transmissões T-Type da SRAM a oferecerem trocas de marcha mais suaves e diretas. A Shimano, ao desenvolver sua própria versão com características únicas, pode estar adotando uma estratégia de “cinto e suspensórios” – oferecendo reforço extra mesmo que o sistema Automatic Impact Recovery já forneça proteção adequada.
Transmissão de 13 Velocidades: O Futuro Está Chegando
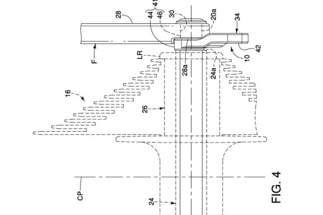
Mas a patente não se limita apenas ao novo design de patilha. O documento começa apresentando outro design de patilha que parece abrir caminho para a transmissão de 13 velocidades da Shimano, e tudo indica que será eletrônica.

De acordo com a patente, “o conjunto de patilha de câmbio é particularmente útil para suportar um câmbio quando um conjunto de cassete traseiro é equipado com um grande número de coroas, como treze coroas no caso do conjunto de cassete traseiro”. O documento também especifica que o câmbio abrigará uma unidade de motor, o que fortemente sugere que se trata de uma transmissão eletrônica.
13 Velocidades: Exclusividade ou Upgrade Universal?
O que a patente não esclarece é se essa transmissão de 13 velocidades chegará como uma atualização para os grupos existentes ou como um sistema completamente novo. Essa é uma questão crucial para ciclistas que já investiram em equipamentos Shimano de ponta.

As transmissões de 13 velocidades estão se tornando cada vez mais comuns no mercado. A SRAM seguiu os passos da Rotor e trouxe 13 marchas para seus grupos T-Type de gravel de nível superior. Os benefícios disso, especialmente para bikes de gravel, incluem uma amplitude maior de relações e intervalos menores entre as marchas, proporcionando transições mais suaves durante o pedal.
Considerando essas vantagens, faz todo sentido que o grupo de 13 velocidades da Shimano seja direcionado inicialmente para o uso em gravel. No entanto, com um novo design de câmbio sendo desenvolvido simultaneamente, há uma boa chance de vermos atualizações de 13 velocidades também para mountain bikes no futuro próximo.
O Que Esperar da Shimano nos Próximos Anos
A publicação desta patente demonstra que a Shimano continua inovando e respondendo ativamente às movimentações da concorrência. O desenvolvimento paralelo de uma nova patilha de câmbio e de uma transmissão de 13 velocidades sugere que a empresa está se preparando para lançamentos significativos que podem redefinir os padrões de performance no ciclismo profissional e amador.
Os ciclistas podem esperar ver esses desenvolvimentos se concretizarem nos próximos anos, possivelmente começando com os grupos de gravel e eventualmente se expandindo para outras modalidades. A tecnologia Di2 sem fio da Shimano já provou ser confiável e eficiente, e a adição de 13 velocidades pode torná-la ainda mais atraente para quem busca o máximo em performance e versatilidade.
Com a ampla gama de transmissões para mountain bike da Shimano já disponível no mercado, desde CUES até XTR, a empresa tem demonstrado capacidade de atender diferentes segmentos. A chegada das 13 velocidades pode representar o próximo grande salto evolutivo desses sistemas.





1 Comment